专利数据库
统计分析
产业报告
专利数据监控
产业人才
行业动态
产业政策法规
维权援助
个人中心
详情
文本
图像
标题
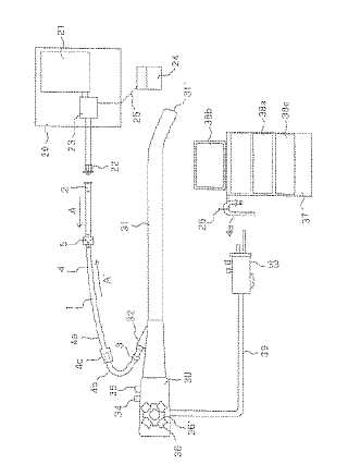
内視鏡用送水チューブ
授权日
1900-01-01
公开(公告)号
JP2006025888A
申请日
2004-07-12
公开(公告)日
2006-02-02
当前申请(专利权)人
フォルテ グロウ メディカル株式会社 | 有限会社コスマメディック
发明人
松川 孝史 | 高橋 寛
简单同族
JP2006025888A | JP4544924B2
简单同族成员数量
2
简单同族被引用专利总数
32
诉讼案件数
0
法律状态/事件
授权
抱歉,您的浏览器不支持PDF预览,请点击链接下载PDF文件