专利数据库
统计分析
产业报告
专利数据监控
产业人才
行业动态
产业政策法规
维权援助
个人中心
详情
文本
图像
标题
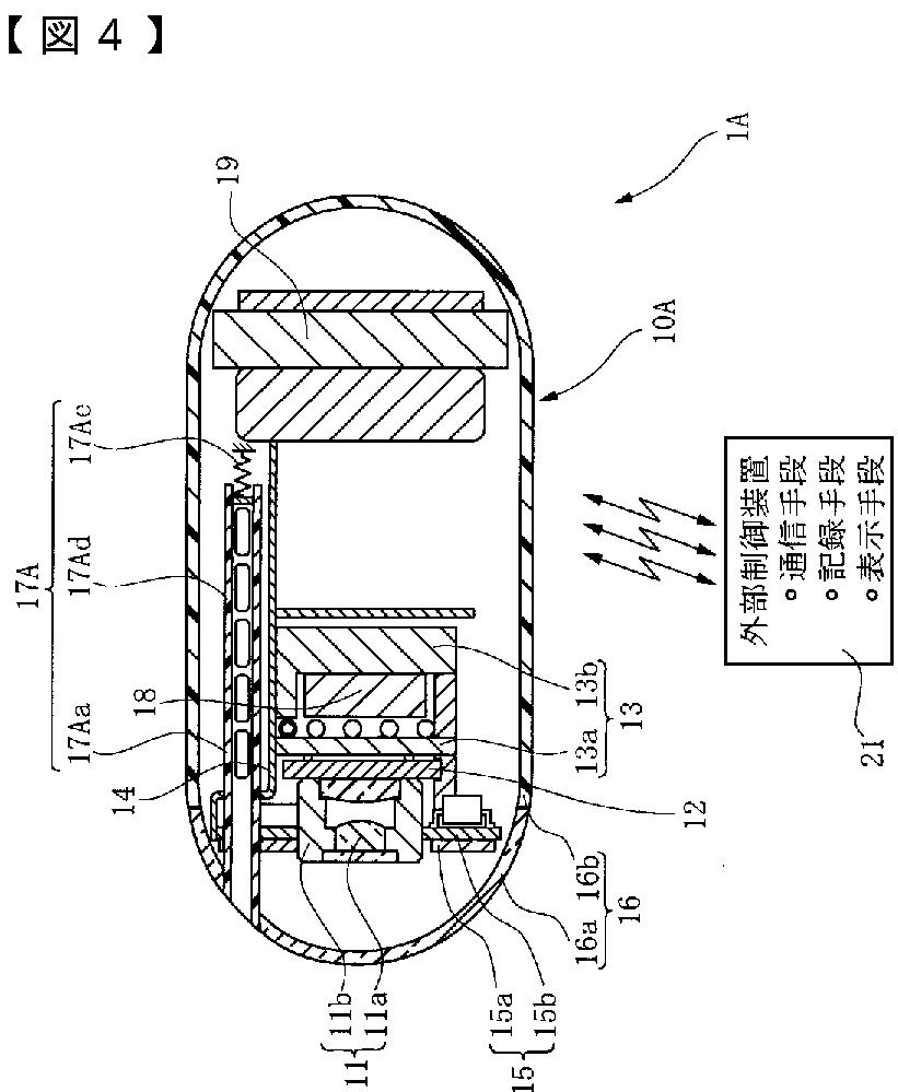
カプセル内視鏡
授权日
2010-01-08
公开(公告)号
JP4436631B2
申请日
2003-08-04
公开(公告)日
2010-03-24
当前申请(专利权)人
オリンパス株式会社
发明人
藤森 紀幸 | 緒方 雅紀 | 宮田 憲治
简单同族
AU2004261105A1 | AU2004261105B2 | CA2532356A1 | CA2532356C | CN100462042C | CN1829467A | EP1652468A1 | EP1652468A4 | EP1652468B1 | JP2005052358A | JP4436631B2 | KR100819651B1 | KR1020060036080A | US20050043587A1 | US20070173696A1 | US20080114204A1 | US8246537 | WO2005011481A1
简单同族成员数量
18
简单同族被引用专利总数
99
诉讼案件数
0
法律状态/事件
未缴年费
抱歉,您的浏览器不支持PDF预览,请点击链接下载PDF文件