专利数据库
统计分析
产业报告
专利数据监控
产业人才
行业动态
产业政策法规
维权援助
个人中心
详情
文本
图像
标题
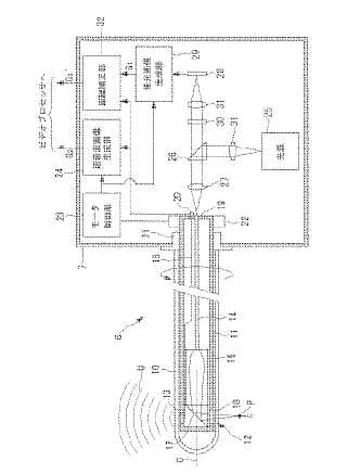
内視鏡観察装置、観察装置および内視鏡観察方法
授权日
1900-01-01
公开(公告)号
JP2008228810A
申请日
2007-03-16
公开(公告)日
2008-10-02
当前申请(专利权)人
オリンパス株式会社
发明人
石原 康成
简单同族
JP2008228810A | JP5118867B2 | US20100134607A1 | WO2008114725A1
简单同族成员数量
4
简单同族被引用专利总数
31
诉讼案件数
0
法律状态/事件
授权 | 权利转移
抱歉,您的浏览器不支持PDF预览,请点击链接下载PDF文件