专利数据库
统计分析
产业报告
专利数据监控
产业人才
行业动态
产业政策法规
维权援助
个人中心
详情
文本
图像
标题
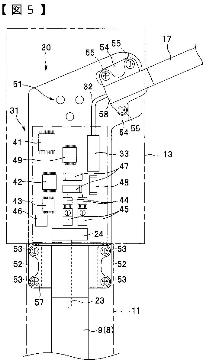
電子内視鏡装置
授权日
2013-07-05
公开(公告)号
JP5308716B2
申请日
2008-05-21
公开(公告)日
2013-10-09
当前申请(专利权)人
オリンパスメディカルシステムズ株式会社
发明人
三谷 貴彦 | 村松 明 | 酒井 誠二 | 山下 知暁 | 河内 昌宏 | 綿谷 祐一
简单同族
AT518472T | CN101587239A | CN101587239B | EP2123209A1 | EP2123209B1 | JP2009279148A | JP2009279148A5 | JP5308716B2 | KR1020090121243A | US20090292169A1 | US8425405
简单同族成员数量
11
简单同族被引用专利总数
98
诉讼案件数
0
法律状态/事件
授权 | 权利转移
抱歉,您的浏览器不支持PDF预览,请点击链接下载PDF文件