专利数据库
统计分析
产业报告
专利数据监控
产业人才
行业动态
产业政策法规
维权援助
个人中心
详情
文本
图像
标题
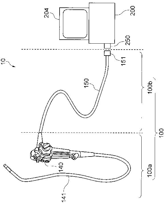
電子内視鏡システム
授权日
1900-01-01
公开(公告)号
JP2007097767A
申请日
2005-10-03
公开(公告)日
2007-04-19
当前申请(专利权)人
オリンパス株式会社
发明人
清水 初男 | 中村 幹夫
简单同族
CN101282679A | EP1932464A1 | JP2007097767A | KR1020080051154A | US20070078304A1 | WO2007043257A1
简单同族成员数量
6
简单同族被引用专利总数
69
诉讼案件数
0
法律状态/事件
驳回
抱歉,您的浏览器不支持PDF预览,请点击链接下载PDF文件