专利数据库
统计分析
产业报告
专利数据监控
产业人才
行业动态
产业政策法规
维权援助
个人中心
详情
文本
图像
标题
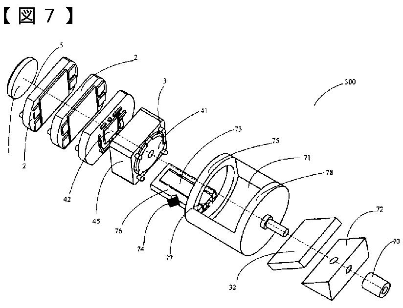
カプセル型内視鏡
授权日
2013-12-20
公开(公告)号
JP5437057B2
申请日
2009-12-07
公开(公告)日
2014-03-12
当前申请(专利权)人
ジョンソン エレクトリック ソシエテ アノニム
发明人
ビン シ | シン クアン リ | リヤン グワン
简单同族
CN101744601A | CN101744601B | DE102009057038A1 | JP2010131403A | JP5437057B2 | US20100145145A1 | US8414479
简单同族成员数量
7
简单同族被引用专利总数
35
诉讼案件数
0
法律状态/事件
授权 | 权利转移
抱歉,您的浏览器不支持PDF预览,请点击链接下载PDF文件