专利数据库
统计分析
产业报告
专利数据监控
产业人才
行业动态
产业政策法规
维权援助
个人中心
详情
文本
图像
标题
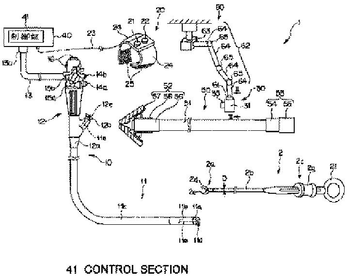
内視鏡処置システム
授权日
1900-01-01
公开(公告)号
JPWO2007138674A1
申请日
2006-05-30
公开(公告)日
2009-10-01
当前申请(专利权)人
オリンパスメディカルシステムズ株式会社
发明人
本田 一樹 | 倉 康人 | 西家 武弘 | 村上 和士 | 小貫 喜生 | 市川 裕章 | 小宮 孝章
简单同族
EP2022433A1 | EP2022433A4 | JP4914891B2 | JPWO2007138674A1 | US20090105536A1 | WO2007138674A1
简单同族成员数量
6
简单同族被引用专利总数
43
诉讼案件数
0
法律状态/事件
授权 | 权利转移
抱歉,您的浏览器不支持PDF预览,请点击链接下载PDF文件