专利数据库
统计分析
产业报告
专利数据监控
产业人才
行业动态
产业政策法规
维权援助
个人中心
详情
文本
图像
标题
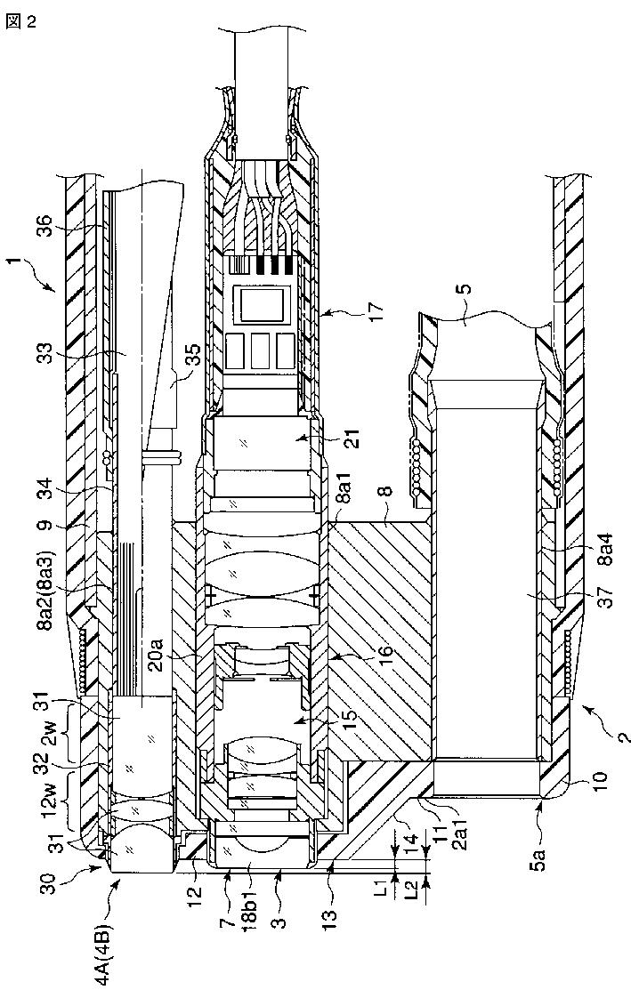
内視鏡の先端部
授权日
1900-01-01
公开(公告)号
JP2007330529A
申请日
2006-06-15
公开(公告)日
2007-12-27
当前申请(专利权)人
オリンパスメディカルシステムズ株式会社
发明人
一村 博信
简单同族
CN101472517A | CN101472517B | EP2027810A1 | EP2027810A4 | EP2027810B1 | JP2007330529A | KR101049980B1 | KR1020090009976A | US20090093681A1 | US8394013 | WO2007145320A1
简单同族成员数量
11
简单同族被引用专利总数
80
诉讼案件数
0
法律状态/事件
驳回
抱歉,您的浏览器不支持PDF预览,请点击链接下载PDF文件