专利数据库
统计分析
产业报告
专利数据监控
产业人才
行业动态
产业政策法规
维权援助
个人中心
详情
文本
图像
标题
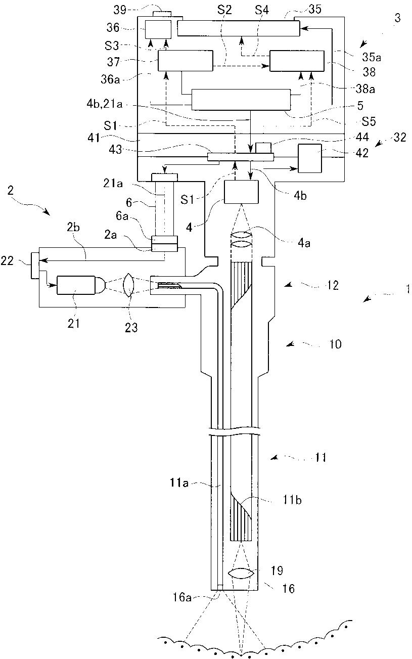
内視鏡装置
授权日
2009-08-28
公开(公告)号
JP4365860B2
申请日
2005-04-11
公开(公告)日
2009-11-18
当前申请(专利权)人
オリンパス株式会社
发明人
宮本 眞一 | 木内 英明 | 中村 剛明 | 渡邊 勝司
简单同族
EP1736094A1 | EP1736094A4 | EP1736094B1 | JP4365860B2 | JPWO2005099560A1 | US20070030344A1 | WO2005099560A1
简单同族成员数量
7
简单同族被引用专利总数
67
诉讼案件数
0
法律状态/事件
授权 | 权利转移
抱歉,您的浏览器不支持PDF预览,请点击链接下载PDF文件