专利数据库
统计分析
产业报告
专利数据监控
产业人才
行业动态
产业政策法规
维权援助
个人中心
详情
文本
图像
标题
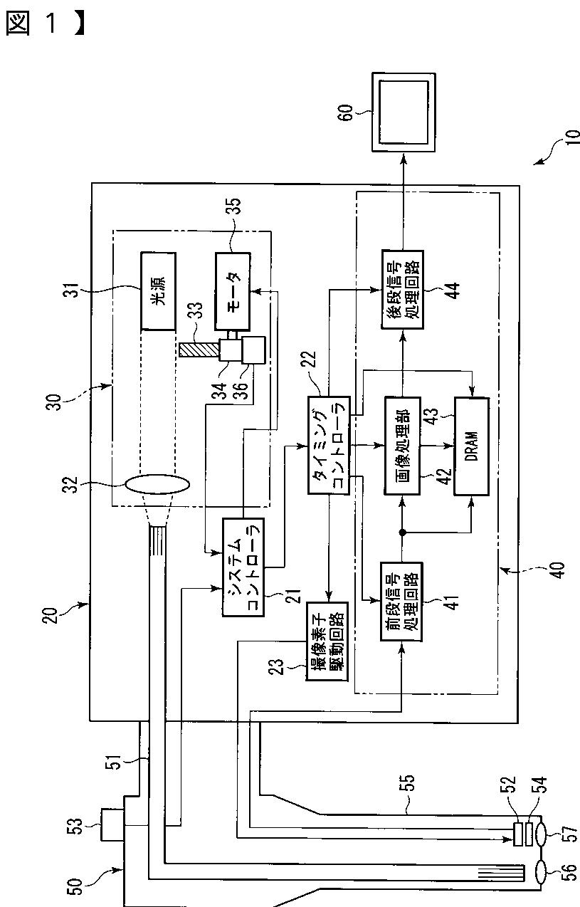
内視鏡プロセッサ、自家蛍光画像表示プログラム、及び内視鏡システム
授权日
2012-01-06
公开(公告)号
JP4895750B2
申请日
2006-10-03
公开(公告)日
2012-03-14
当前申请(专利权)人
HOYA株式会社
发明人
柴崎 裕一
简单同族
JP2008086605A | JP4895750B2
简单同族成员数量
2
简单同族被引用专利总数
30
诉讼案件数
0
法律状态/事件
授权 | 权利转移
抱歉,您的浏览器不支持PDF预览,请点击链接下载PDF文件