专利数据库
统计分析
产业报告
专利数据监控
产业人才
行业动态
产业政策法规
维权援助
个人中心
详情
文本
图像
标题
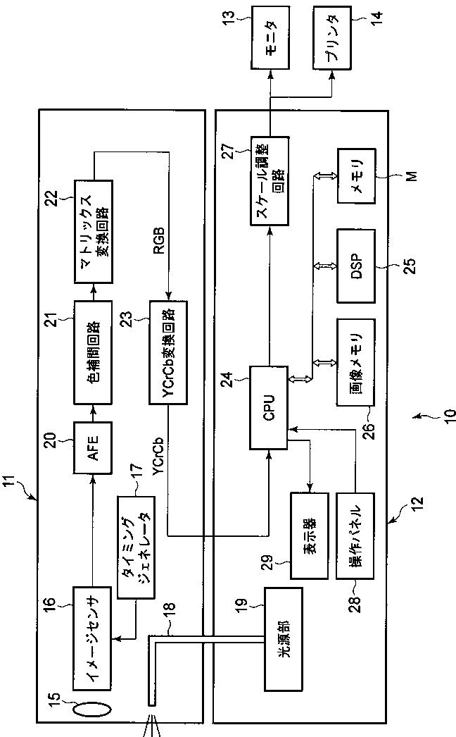
電子内視鏡用信号処理装置および電子内視鏡装置
授权日
1900-01-01
公开(公告)号
JP2010036017A
申请日
2008-10-24
公开(公告)日
2010-02-18
当前申请(专利权)人
HOYA株式会社
发明人
高山 真一
简单同族
DE102009032249A1 | JP2010036017A | JP5467754B2 | US20100007724A1 | US20120274753A1 | US8253783 | US8704885
简单同族成员数量
7
简单同族被引用专利总数
27
诉讼案件数
0
法律状态/事件
授权 | 权利转移
抱歉,您的浏览器不支持PDF预览,请点击链接下载PDF文件