专利数据库
统计分析
产业报告
专利数据监控
产业人才
行业动态
产业政策法规
维权援助
个人中心
详情
文本
图像
标题
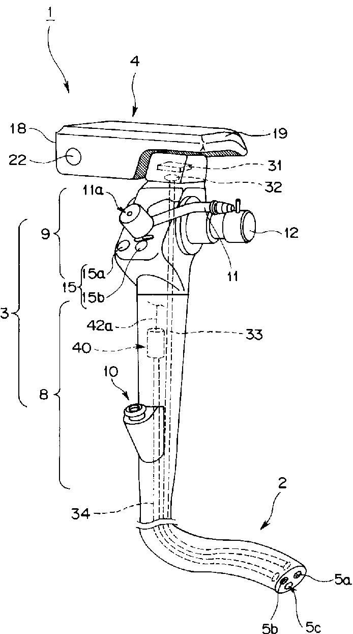
内視鏡
授权日
2012-02-10
公开(公告)号
JP4922636B2
申请日
2006-03-24
公开(公告)日
2012-04-25
当前申请(专利权)人
オリンパスメディカルシステムズ株式会社
发明人
渡辺 勝司 | 正呂地 礼徳
简单同族
JP2007252809A | JP4922636B2
简单同族成员数量
2
简单同族被引用专利总数
21
诉讼案件数
0
法律状态/事件
授权 | 权利转移
抱歉,您的浏览器不支持PDF预览,请点击链接下载PDF文件