专利数据库
统计分析
产业报告
专利数据监控
产业人才
行业动态
产业政策法规
维权援助
个人中心
详情
文本
图像
标题
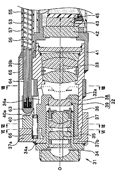
内視鏡用撮像ユニット
授权日
1900-01-01
公开(公告)号
JP2010063491A
申请日
2008-09-08
公开(公告)日
2010-03-25
当前申请(专利权)人
オリンパスメディカルシステムズ株式会社
发明人
口丸 亨 | 酒井 誠二
简单同族
CN101672980A | CN101672980B | CN102213829A | CN102213829B | EP2161606A1 | EP2161606B1 | EP2296028A1 | EP2296028B1 | JP2010063491A | JP5289870B2 | US20100063361A1 | US20130107025A1 | US8360965 | US8936546
简单同族成员数量
14
简单同族被引用专利总数
33
诉讼案件数
0
法律状态/事件
授权 | 权利转移
抱歉,您的浏览器不支持PDF预览,请点击链接下载PDF文件