专利数据库
统计分析
产业报告
专利数据监控
产业人才
行业动态
产业政策法规
维权援助
个人中心
详情
文本
图像
标题
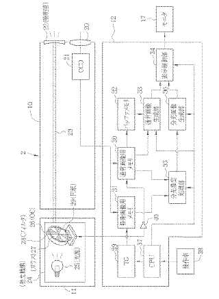
電子内視鏡システム
授权日
1900-01-01
公开(公告)号
JP2008023101A
申请日
2006-07-21
公开(公告)日
2008-02-07
当前申请(专利权)人
富士フイルム株式会社
发明人
長谷川 一英
简单同族
EP1880661A2 | EP1880661A3 | EP1880661B1 | JP2008023101A | JP4849985B2 | US20080018733A1 | US8269824
简单同族成员数量
7
简单同族被引用专利总数
39
诉讼案件数
0
法律状态/事件
未缴年费 | 权利转移
抱歉,您的浏览器不支持PDF预览,请点击链接下载PDF文件