专利数据库
统计分析
产业报告
专利数据监控
产业人才
行业动态
产业政策法规
维权援助
个人中心
详情
文本
图像
标题
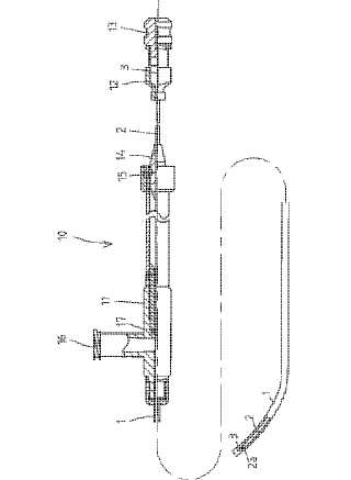
内視鏡用穿刺具
授权日
1900-01-01
公开(公告)号
JP2002306497A
申请日
2001-04-18
公开(公告)日
2002-10-22
当前申请(专利权)人
HOYA株式会社
发明人
伊藤 慶時
简单同族
JP2002306497A | JP4475842B2
简单同族成员数量
2
简单同族被引用专利总数
27
诉讼案件数
0
法律状态/事件
未缴年费 | 权利转移
抱歉,您的浏览器不支持PDF预览,请点击链接下载PDF文件