专利数据库
统计分析
产业报告
专利数据监控
产业人才
行业动态
产业政策法规
维权援助
个人中心
详情
文本
图像
标题
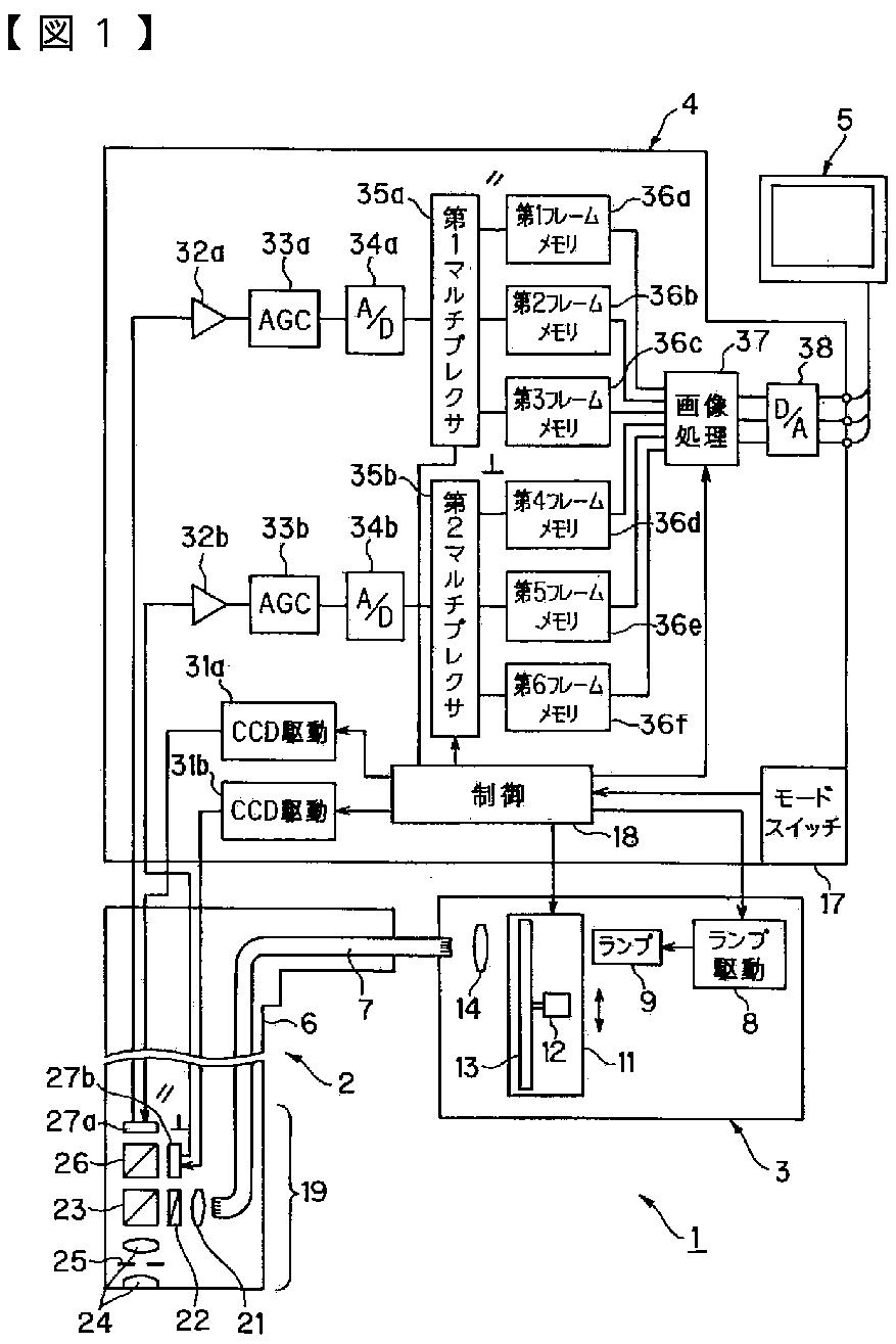
内視鏡システム
授权日
2013-05-02
公开(公告)号
JP5259033B2
申请日
2001-08-03
公开(公告)日
2013-08-07
当前申请(专利权)人
オリンパス株式会社
发明人
金子 守 | 長谷川 晃 | 小野 勝也 | 今泉 克一 | 後野 和弘 | 高岡 秀行 | 野沢 純一 | 秋本 俊也 | 三浦 直規
简单同族
JP2003047588A | JP5259033B2 | US20030040668A1 | US6772003
简单同族成员数量
4
简单同族被引用专利总数
157
诉讼案件数
0
法律状态/事件
未缴年费 | 权利转移
抱歉,您的浏览器不支持PDF预览,请点击链接下载PDF文件