专利数据库
统计分析
产业报告
专利数据监控
产业人才
行业动态
产业政策法规
维权援助
个人中心
详情
文本
图像
标题
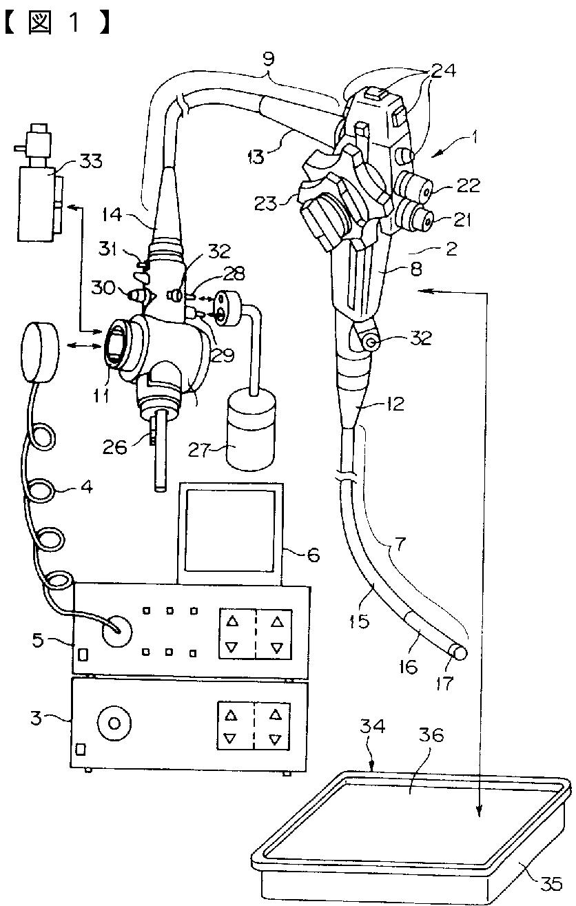
内視鏡の可撓管
授权日
2007-06-01
公开(公告)号
JP3965108B2
申请日
2002-11-29
公开(公告)日
2007-08-29
当前申请(专利权)人
オリンパス株式会社
发明人
西家 武弘
简单同族
CA2507528A1 | CN1717194A | EP1566141A1 | EP1566141A4 | JP2004180776A | JP3965108B2 | KR100685337B1 | KR1020050072494A | US20040111010A1 | WO2004049920A1
简单同族成员数量
10
简单同族被引用专利总数
36
诉讼案件数
0
法律状态/事件
授权 | 权利转移
抱歉,您的浏览器不支持PDF预览,请点击链接下载PDF文件