专利数据库
统计分析
产业报告
专利数据监控
产业人才
行业动态
产业政策法规
维权援助
个人中心
详情
文本
图像
标题
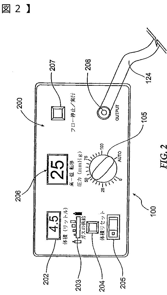
内視鏡装置への膨張媒体の供給を制御する注入システム、方法、及びコンピュータが読取り可能な記録媒体
授权日
2013-03-01
公开(公告)号
JP5208753B2
申请日
2006-10-23
公开(公告)日
2013-06-12
当前申请(专利权)人
ブラッコ·ダイアグノスティクス·インコーポレーテッド
发明人
ウィリアムズ,ロバート·シー,ジュニア | クルツィナ,ピーター·エム
简单同族
AU2006306361A1 | AU2006306361B2 | AU2006306361B8 | CN101312763A | CN101312763B | EP1940501A2 | EP1940501A4 | EP1940501B1 | EP3653246A1 | JP2009512535A | JP5208753B2 | KR101258447B1 | KR1020080066814A | US20070106209A1 | US20110034862A1 | US20120157770A1 | US7806850 | US8157763 | US9987439 | WO2007050516A2 | WO2007050516A3
简单同族成员数量
21
简单同族被引用专利总数
46
诉讼案件数
0
法律状态/事件
授权 | 权利转移
抱歉,您的浏览器不支持PDF预览,请点击链接下载PDF文件