专利数据库
统计分析
产业报告
专利数据监控
产业人才
行业动态
产业政策法规
维权援助
个人中心
详情
文本
图像
标题
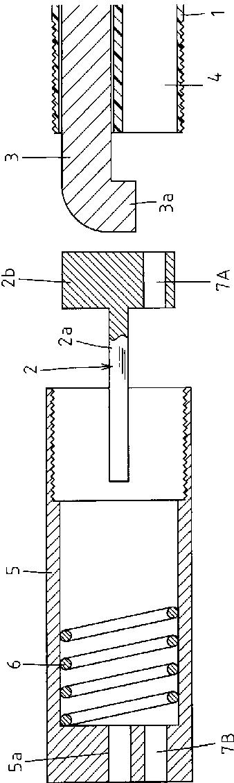
内視鏡用高周波処置具
授权日
1900-01-01
公开(公告)号
JP2006217985A
申请日
2005-02-09
公开(公告)日
2006-08-24
当前申请(专利权)人
HOYA株式会社
发明人
杉田 憲幸 | 松野 真一
简单同族
DE102006006052A1 | DE102006006052B4 | JP2006217985A | JP4598184B2 | US20060178669A1 | US7674262
简单同族成员数量
6
简单同族被引用专利总数
32
诉讼案件数
0
法律状态/事件
未缴年费 | 权利转移
抱歉,您的浏览器不支持PDF预览,请点击链接下载PDF文件