专利数据库
统计分析
产业报告
专利数据监控
产业人才
行业动态
产业政策法规
维权援助
个人中心
详情
文本
图像
标题
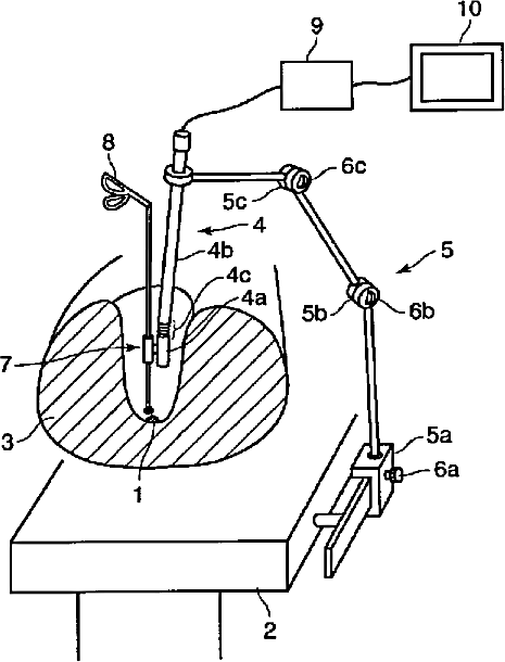
内視鏡手術装置
授权日
1900-01-01
公开(公告)号
JP2003325436A
申请日
2002-05-15
公开(公告)日
2003-11-18
当前申请(专利权)人
オリンパス株式会社
发明人
安永 浩二 | 菅井 俊哉 | 辻谷 英樹 | 大塚 聡司 | 塚越 壯 | 鶴田 稔 | 中村 剛明
简单同族
JP2003325436A | JP4179798B2
简单同族成员数量
2
简单同族被引用专利总数
52
诉讼案件数
0
法律状态/事件
未缴年费 | 权利转移
抱歉,您的浏览器不支持PDF预览,请点击链接下载PDF文件