专利数据库
统计分析
产业报告
专利数据监控
产业人才
行业动态
产业政策法规
维权援助
个人中心
详情
文本
图像
标题
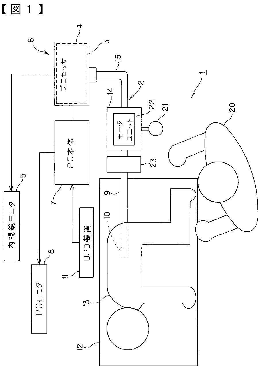
内視鏡システム
授权日
2012-03-30
公开(公告)号
JP4961475B2
申请日
2007-06-20
公开(公告)日
2012-06-27
当前申请(专利权)人
オリンパスメディカルシステムズ株式会社
发明人
田中 秀樹 | 長谷川 潤 | 中村 俊夫 | 内山 昭夫 | 千葉 淳
简单同族
CN101652092A | CN101652092B | EP2158834A1 | EP2158834A4 | JP4961475B2 | JPWO2008155828A1 | US20100076263A1 | WO2008155828A1
简单同族成员数量
8
简单同族被引用专利总数
67
诉讼案件数
0
法律状态/事件
授权 | 权利转移
抱歉,您的浏览器不支持PDF预览,请点击链接下载PDF文件