专利数据库
统计分析
产业报告
专利数据监控
产业人才
行业动态
产业政策法规
维权援助
个人中心
详情
文本
图像
标题
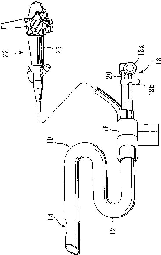
内視鏡を案内するガイド
授权日
2009-07-10
公开(公告)号
JP4340224B2
申请日
2004-12-24
公开(公告)日
2009-10-07
当前申请(专利权)人
オリンパス株式会社 | アンソニー·ニコラス·カルー | セルゲイ·ベニアミノビッチ·カンチェボイ
发明人
石川 正宏 | アンソニー·ニコラス·カルー | セルゲイ·ベニアミノビッチ·カンチェボイ
简单同族
JP2003220065A | JP2005095673A | JP4197963B2 | JP4340224B2 | US20030216749A1 | US20050043720A1 | US7637919 | US7654951
简单同族成员数量
8
简单同族被引用专利总数
217
诉讼案件数
0
法律状态/事件
授权 | 权利转移
抱歉,您的浏览器不支持PDF预览,请点击链接下载PDF文件