专利数据库
统计分析
产业报告
专利数据监控
产业人才
行业动态
产业政策法规
维权援助
个人中心
详情
文本
图像
标题
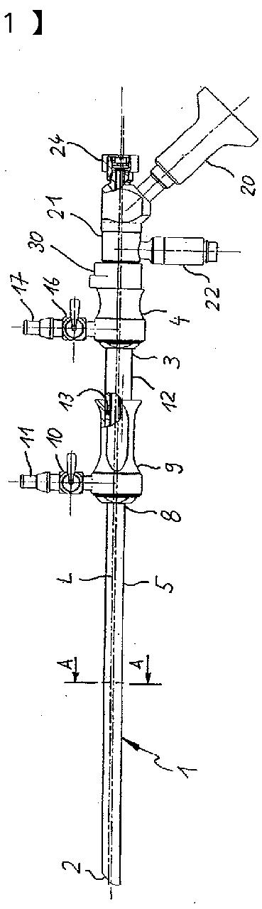
内視鏡
授权日
2008-04-11
公开(公告)号
JP4109662B2
申请日
2004-09-30
公开(公告)日
2008-07-02
当前申请(专利权)人
ヘンケ-ザス,ボルフ ゲーエムベーハー | イーケーエル メディカル リミテッド
发明人
ラルフ キーン | オリバー ハイロ レーエ | トーマス パウル ヴェラー | マーティン ナイト
简单同族
AT324826T | DE50303217D1 | EP1523932A1 | EP1523932B1 | ES2260557T3 | JP2005118549A | JP4109662B2 | US20050085692A1
简单同族成员数量
8
简单同族被引用专利总数
66
诉讼案件数
0
法律状态/事件
未缴年费
抱歉,您的浏览器不支持PDF预览,请点击链接下载PDF文件