专利数据库
统计分析
产业报告
专利数据监控
产业人才
行业动态
产业政策法规
维权援助
个人中心
详情
文本
图像
标题
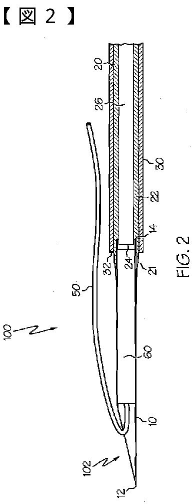
可撓性内視鏡の縫合糸アンカー適用装置
授权日
2014-06-13
公开(公告)号
JP5558100B2
申请日
2007-10-18
公开(公告)日
2014-07-23
当前申请(专利权)人
エシコン·エンド-サージェリィ·インコーポレイテッド
发明人
マーティン·デビッド·ティー | クロッパー·マイケル·エス | シュエムバーガー·リチャード·エフ
简单同族
BRPI0718012A2 | BRPI0718012B1 | EP2094168A2 | JP2010508082A | JP5558100B2 | KR101527734B1 | KR1020090079249A | US20080103527A1 | WO2008057734A2 | WO2008057734A3
简单同族成员数量
10
简单同族被引用专利总数
96
诉讼案件数
0
法律状态/事件
授权
抱歉,您的浏览器不支持PDF预览,请点击链接下载PDF文件