专利数据库
统计分析
产业报告
专利数据监控
产业人才
行业动态
产业政策法规
维权援助
个人中心
详情
文本
图像
标题
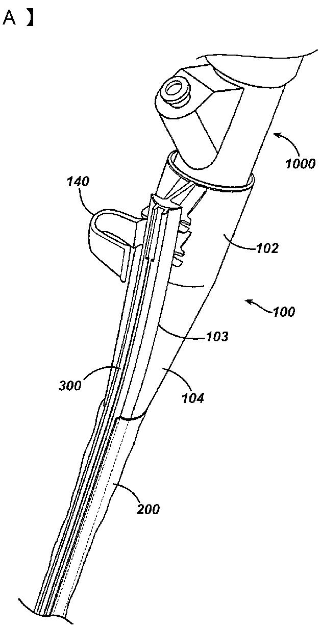
エンドキャップを内視鏡の遠位端部上に位置決めする装置
授权日
2012-08-17
公开(公告)号
JP5063931B2
申请日
2006-05-12
公开(公告)日
2012-10-31
当前申请(专利权)人
エシコン·エンド-サージェリィ·インコーポレイテッド
发明人
ジェイムス·ティー·スピベイ | ディビッド·ステファンチック | オマール·ジェイ·バカリア | リック·ディー·アップルゲイト
简单同族
AR057020A1 | AU2006202012A1 | BRPI0602604A | BRPI0602604A2 | CA2547038A1 | CN1861011A | EP1721565A2 | EP1721565A3 | EP1721565B1 | JP2006314804A | JP5063931B2 | KR1020060117286A | SG127827A1 | US20060258902A1 | US7857754
简单同族成员数量
15
简单同族被引用专利总数
30
诉讼案件数
0
法律状态/事件
未缴年费
抱歉,您的浏览器不支持PDF预览,请点击链接下载PDF文件