专利数据库
统计分析
产业报告
专利数据监控
产业人才
行业动态
产业政策法规
维权援助
个人中心
详情
文本
图像
标题
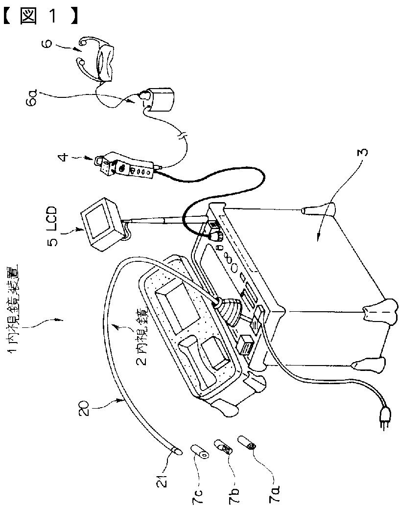
計測用内視鏡装置
授权日
2007-04-06
公开(公告)号
JP3938721B2
申请日
2002-07-01
公开(公告)日
2007-06-27
当前申请(专利权)人
オリンパス株式会社
发明人
小川 清富
简单同族
JP2004033367A | JP3938721B2 | US20040054256A1 | US6945931
简单同族成员数量
4
简单同族被引用专利总数
44
诉讼案件数
0
法律状态/事件
未缴年费 | 权利转移
抱歉,您的浏览器不支持PDF预览,请点击链接下载PDF文件