专利数据库
统计分析
产业报告
专利数据监控
产业人才
行业动态
产业政策法规
维权援助
个人中心
详情
文本
图像
标题
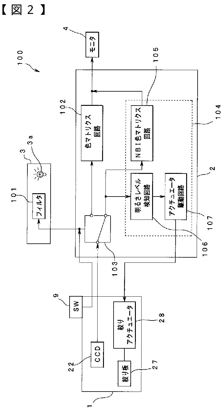
内視鏡システム
授权日
2011-04-22
公开(公告)号
JP4728162B2
申请日
2006-04-21
公开(公告)日
2011-07-20
当前申请(专利权)人
オリンパスメディカルシステムズ株式会社 | オリンパス株式会社
发明人
石井 広 | 岩▲崎▼ 誠二 | 河内 昌宏 | 石原 英明 | 高橋 進 | 中村 信一 | 野口 あずさ | 高頭 英泰 | 笹本 勉
简单同族
CN101426416A | CN101426416B | EP2011431A1 | EP2011431A4 | JP2007289278A | JP4728162B2 | US20090051764A1 | US8547424 | WO2007123129A1
简单同族成员数量
9
简单同族被引用专利总数
56
诉讼案件数
0
法律状态/事件
授权 | 权利转移
抱歉,您的浏览器不支持PDF预览,请点击链接下载PDF文件