专利数据库
统计分析
产业报告
专利数据监控
产业人才
行业动态
产业政策法规
维权援助
个人中心
详情
文本
图像
标题
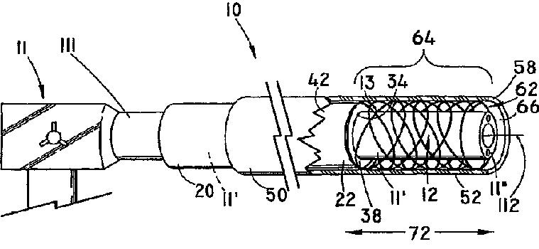
ステント用経内視鏡的イントロデューサ
授权日
1900-01-01
公开(公告)号
JP2009517182A
申请日
2006-11-27
公开(公告)日
2009-04-30
当前申请(专利权)人
クック メディカル テクノロジーズ エルエルシー
发明人
ケネディ,ケネス,シー.,セカンド | スカーヴェン,グレゴリー,ジェー.
简单同族
AU2006320732A1 | AU2006320732B2 | CA2632051A1 | CA2632051C | EP1971298A1 | EP1971298B1 | JP2009517182A | JP2009517182A5 | JP5064411B2 | US20070123971A1 | US20100161024A1 | US7717923 | US8002814 | WO2007064590A1
简单同族成员数量
14
简单同族被引用专利总数
79
诉讼案件数
0
法律状态/事件
授权 | 权利转移
抱歉,您的浏览器不支持PDF预览,请点击链接下载PDF文件