专利数据库
统计分析
产业报告
专利数据监控
产业人才
行业动态
产业政策法规
维权援助
个人中心
详情
文本
图像
标题
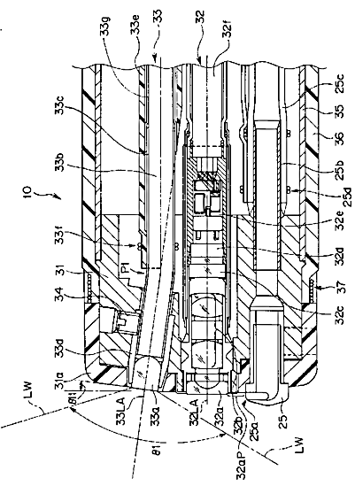
内視鏡
授权日
1900-01-01
公开(公告)号
JP2005168770A
申请日
2003-12-10
公开(公告)日
2005-06-30
当前申请(专利权)人
オリンパス株式会社
发明人
外山 隆一
简单同族
CN100374069C | CN1626027A | CN2730318Y | EP1692995A1 | EP1692995A4 | EP1692995B1 | JP2005168770A | KR1020060101521A | US20060229497A1 | WO2005055816A1
简单同族成员数量
10
简单同族被引用专利总数
36
诉讼案件数
0
法律状态/事件
驳回
抱歉,您的浏览器不支持PDF预览,请点击链接下载PDF文件