专利数据库
统计分析
产业报告
专利数据监控
产业人才
行业动态
产业政策法规
维权援助
个人中心
详情
文本
图像
标题
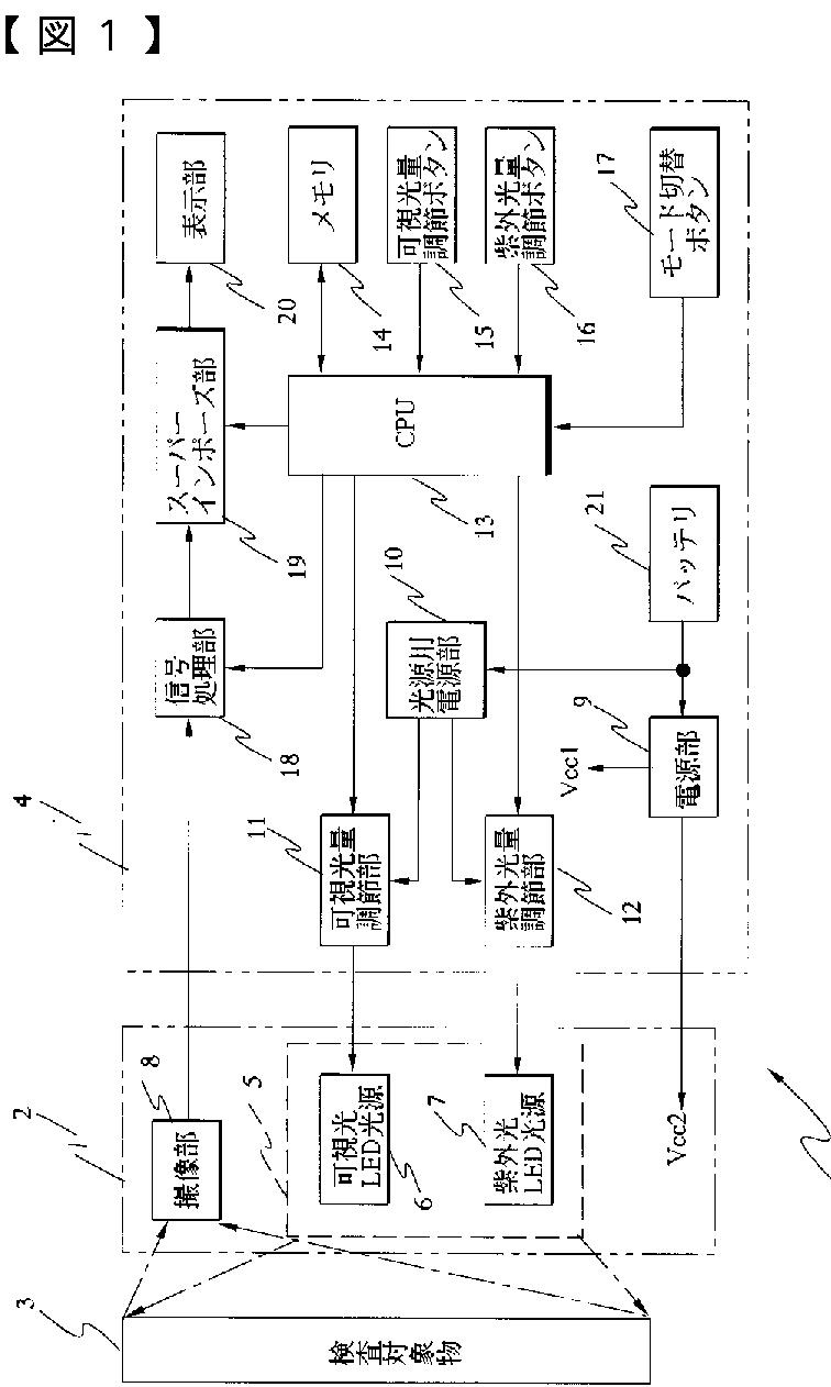
内視鏡装置
授权日
2012-02-03
公开(公告)号
JP4916160B2
申请日
2005-11-14
公开(公告)日
2012-04-11
当前申请(专利权)人
オリンパス株式会社
发明人
沼田 健児
简单同族
JP2007139822A | JP2007139822A5 | JP4916160B2
简单同族成员数量
3
简单同族被引用专利总数
53
诉讼案件数
0
法律状态/事件
授权 | 权利转移
抱歉,您的浏览器不支持PDF预览,请点击链接下载PDF文件