专利数据库
统计分析
产业报告
专利数据监控
产业人才
行业动态
产业政策法规
维权援助
个人中心
详情
文本
图像
标题
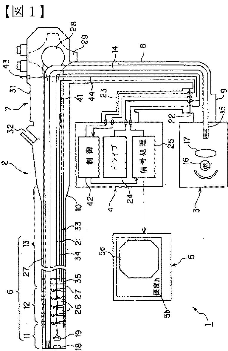
内視鏡
授权日
1900-01-01
公开(公告)号
JPWO2006028019A1
申请日
2005-09-02
公开(公告)日
2008-05-08
当前申请(专利权)人
オリンパス株式会社
发明人
野口 利昭 | 内村 澄洋 | 古川 達也 | 河内 昌宏 | 小野田 文幸 | 森山 宏樹 | 外山 隆一 | 丹羽 寛 | 黒島 尚士 | 長谷川 準 | 鈴木 英理 | 小川 章生 | 後町 昌紀 | 伊藤 宣昭 | 糸谷 聡
简单同族
CN101010027A | CN101010027B | EP1787575A1 | JPWO2006028019A1 | US20070149852A1 | WO2006028019A1
简单同族成员数量
6
简单同族被引用专利总数
43
诉讼案件数
0
法律状态/事件
驳回
抱歉,您的浏览器不支持PDF预览,请点击链接下载PDF文件