专利数据库
统计分析
产业报告
专利数据监控
产业人才
行业动态
产业政策法规
维权援助
个人中心
详情
文本
图像
标题
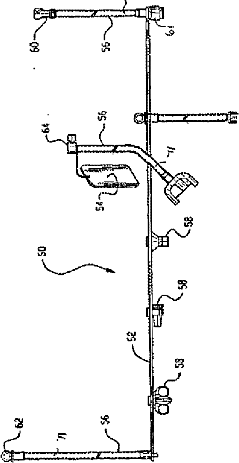
制御された漏出を伴って再処理する内視鏡のための流体接続システム
授权日
1900-01-01
公开(公告)号
JP2003521325A
申请日
2001-02-07
公开(公告)日
2003-07-15
当前申请(专利权)人
ステリス インコーポレイテッド
发明人
マプソン, タラ デニス | ケセルマン, ユーリー | ジェスラン, デイビッド | セリグ, ビクター エム. | トベルグヤク, ジョセフ | シーマン, リチャード エイ. | バブラ, ブルース エル. | セスタック, ジョセフ ティー.
简单同族
AT286364T | AU2001236742A1 | AU2001236742B2 | CA2398835A1 | CA2398835C | CA2664788A1 | CA2664788C | DE60108220D1 | DE60108220T2 | EP1253849A1 | EP1253849B1 | ES2236182T3 | JP2003521325A | JP2003521325A5 | JP4680468B2 | US6485684 | WO2001056459A1
简单同族成员数量
17
简单同族被引用专利总数
92
诉讼案件数
0
法律状态/事件
授权
抱歉,您的浏览器不支持PDF预览,请点击链接下载PDF文件