专利数据库
统计分析
产业报告
专利数据监控
产业人才
行业动态
产业政策法规
维权援助
个人中心
详情
文本
图像
标题
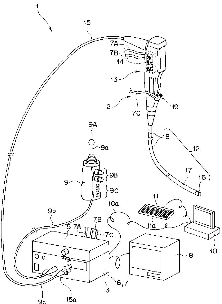
電動湾曲内視鏡装置
授权日
2010-10-01
公开(公告)号
JP4598679B2
申请日
2006-01-13
公开(公告)日
2010-12-15
当前申请(专利权)人
オリンパスメディカルシステムズ株式会社
发明人
伊藤 誠悟 | 小板橋 正信
简单同族
CN101355902A | CN101355902B | EP1972249A1 | EP1972249A4 | EP1972249B1 | JP2007185385A | JP4598679B2 | US20080262311A1 | US8066633 | WO2007080709A1
简单同族成员数量
10
简单同族被引用专利总数
35
诉讼案件数
0
法律状态/事件
授权 | 权利转移
抱歉,您的浏览器不支持PDF预览,请点击链接下载PDF文件