专利数据库
统计分析
产业报告
专利数据监控
产业人才
行业动态
产业政策法规
维权援助
个人中心
详情
文本
图像
标题
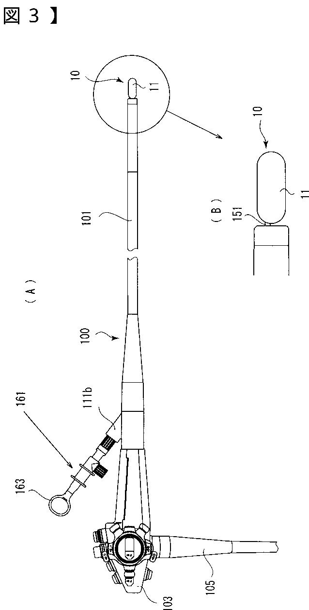
カプセル内視鏡保持機構
授权日
2008-06-06
公开(公告)号
JP4133074B2
申请日
2002-07-23
公开(公告)日
2008-08-13
当前申请(专利权)人
HOYA株式会社
发明人
樽本 哲也 | 小林 弘幸
简单同族
JP2004049754A | JP4133074B2
简单同族成员数量
2
简单同族被引用专利总数
44
诉讼案件数
0
法律状态/事件
未缴年费 | 权利转移
抱歉,您的浏览器不支持PDF预览,请点击链接下载PDF文件