专利数据库
统计分析
产业报告
专利数据监控
产业人才
行业动态
产业政策法规
维权援助
个人中心
详情
文本
图像
标题
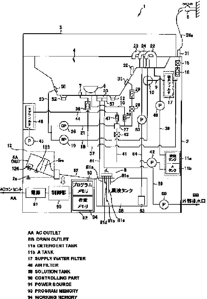
内視鏡洗浄消毒装置
授权日
1900-01-01
公开(公告)号
JPWO2008059602A1
申请日
2006-11-17
公开(公告)日
2010-02-25
当前申请(专利权)人
オリンパスメディカルシステムズ株式会社
发明人
長谷川 準 | 小谷 康二郎
简单同族
JP4996618B2 | JPWO2008059602A1 | US20080115814A1 | US7758704 | WO2008059602A1
简单同族成员数量
5
简单同族被引用专利总数
32
诉讼案件数
0
法律状态/事件
授权 | 权利转移
抱歉,您的浏览器不支持PDF预览,请点击链接下载PDF文件