专利数据库
统计分析
产业报告
专利数据监控
产业人才
行业动态
产业政策法规
维权援助
个人中心
详情
文本
图像
标题
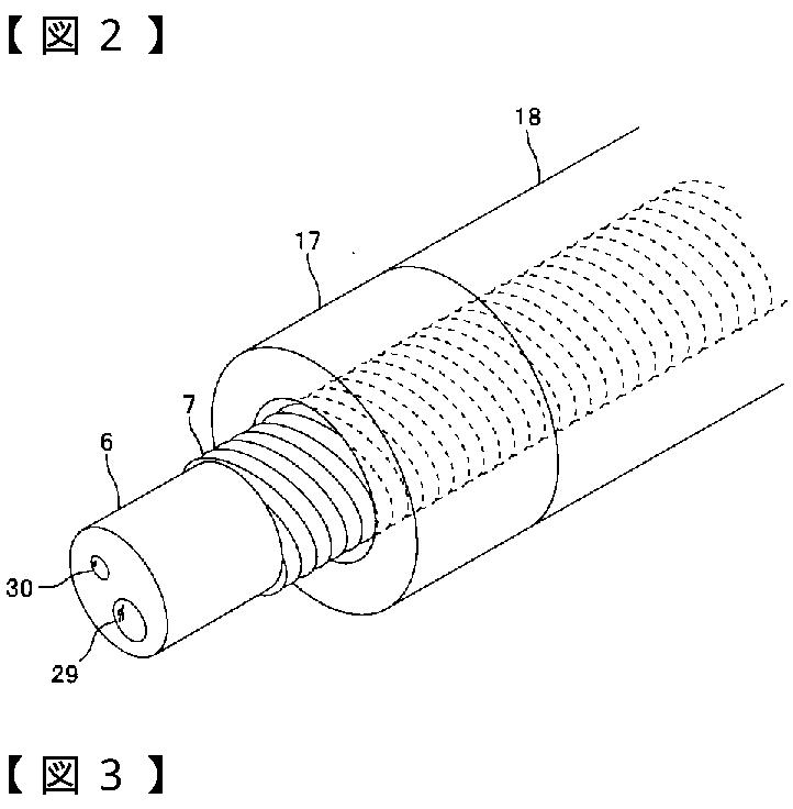
回転自走式内視鏡システム
授权日
2011-11-25
公开(公告)号
JP4868970B2
申请日
2006-08-03
公开(公告)日
2012-02-01
当前申请(专利权)人
オリンパスメディカルシステムズ株式会社
发明人
倉 康人
简单同族
JP2008036031A | JP2008036031A5 | JP4868970B2 | US20080033245A1 | US7951068
简单同族成员数量
5
简单同族被引用专利总数
44
诉讼案件数
0
法律状态/事件
授权 | 权利转移
抱歉,您的浏览器不支持PDF预览,请点击链接下载PDF文件