专利数据库
统计分析
产业报告
专利数据监控
产业人才
行业动态
产业政策法规
维权援助
个人中心
详情
文本
图像
标题
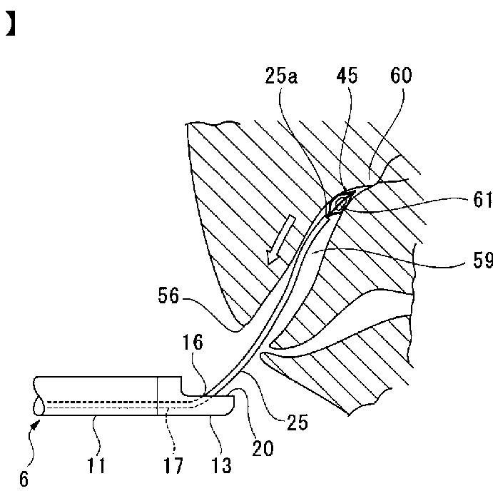
内視鏡用処置具
授权日
2011-01-14
公开(公告)号
JP4663345B2
申请日
2005-01-31
公开(公告)日
2011-04-06
当前申请(专利权)人
オリンパスメディカルシステムズ株式会社
发明人
中川 剛士 | 矢沼 豊
简单同族
CN101106934A | EP1844695A1 | EP1844695A4 | JP2006204745A | JP4663345B2 | US20090105534A1 | WO2006080232A1
简单同族成员数量
7
简单同族被引用专利总数
26
诉讼案件数
0
法律状态/事件
授权 | 权利转移
抱歉,您的浏览器不支持PDF预览,请点击链接下载PDF文件