专利数据库
统计分析
产业报告
专利数据监控
产业人才
行业动态
产业政策法规
维权援助
个人中心
详情
文本
图像
标题
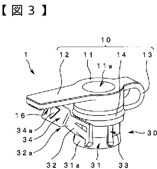
内視鏡用栓体
授权日
2008-08-15
公开(公告)号
JP4171478B2
申请日
2005-06-16
公开(公告)日
2008-10-22
当前申请(专利权)人
オリンパスメディカルシステムズ株式会社
发明人
濱▲崎▼ 昌典
简单同族
CN100584266C | CN1879550A | CN200963127Y | JP2006346197A | JP4171478B2 | US20060287578A1 | US7972264
简单同族成员数量
7
简单同族被引用专利总数
31
诉讼案件数
0
法律状态/事件
授权 | 权利转移
抱歉,您的浏览器不支持PDF预览,请点击链接下载PDF文件