专利数据库
统计分析
产业报告
专利数据监控
产业人才
行业动态
产业政策法规
维权援助
个人中心
详情
文本
图像
标题
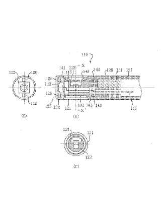
広視野内視鏡
授权日
1900-01-01
公开(公告)号
JP2009251574A
申请日
2008-04-11
公开(公告)日
2009-10-29
当前申请(专利权)人
有限会社 アイシステムズ | 株式会社メディア·テクノロジー
发明人
安藤 邦郎 | 長野 雅彦
简单同族
JP2009251574A
简单同族成员数量
1
简单同族被引用专利总数
26
诉讼案件数
0
法律状态/事件
撤回
抱歉,您的浏览器不支持PDF预览,请点击链接下载PDF文件