专利数据库
统计分析
产业报告
专利数据监控
产业人才
行业动态
产业政策法规
维权援助
个人中心
详情
文本
图像
标题
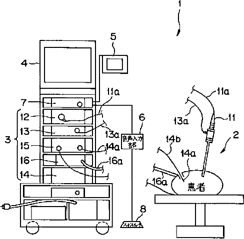
内視鏡装置の操作システム
授权日
1900-01-01
公开(公告)号
JP2001299691A
申请日
2000-04-25
公开(公告)日
2001-10-30
当前申请(专利权)人
オリンパス光学工業株式会社
发明人
三浦 圭介 | 萬壽 和夫 | 佐々木 勝巳 | 大西 順一 | 山内 幸治 | 宮澤 太郎 | 牛房 浩行 | 川井 智康 | 後野 和弘 | 中村 剛明
简单同族
JP2001299691A
简单同族成员数量
1
简单同族被引用专利总数
23
诉讼案件数
0
法律状态/事件
撤回
抱歉,您的浏览器不支持PDF预览,请点击链接下载PDF文件