专利数据库
统计分析
产业报告
专利数据监控
产业人才
行业动态
产业政策法规
维权援助
个人中心
详情
文本
图像
标题
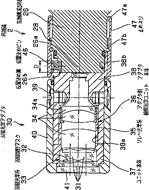
内視鏡装置
授权日
1900-01-01
公开(公告)号
JP2002301014A
申请日
2001-04-04
公开(公告)日
2002-10-15
当前申请(专利权)人
オリンパス株式会社
发明人
田中 靖人
简单同族
JP2002301014A | JP2002301014A5 | JP4716595B2 | US20020161284A1 | US6554767
简单同族成员数量
5
简单同族被引用专利总数
120
诉讼案件数
0
法律状态/事件
授权 | 权利转移
抱歉,您的浏览器不支持PDF预览,请点击链接下载PDF文件