专利数据库
统计分析
产业报告
专利数据监控
产业人才
行业动态
产业政策法规
维权援助
个人中心
详情
文本
图像
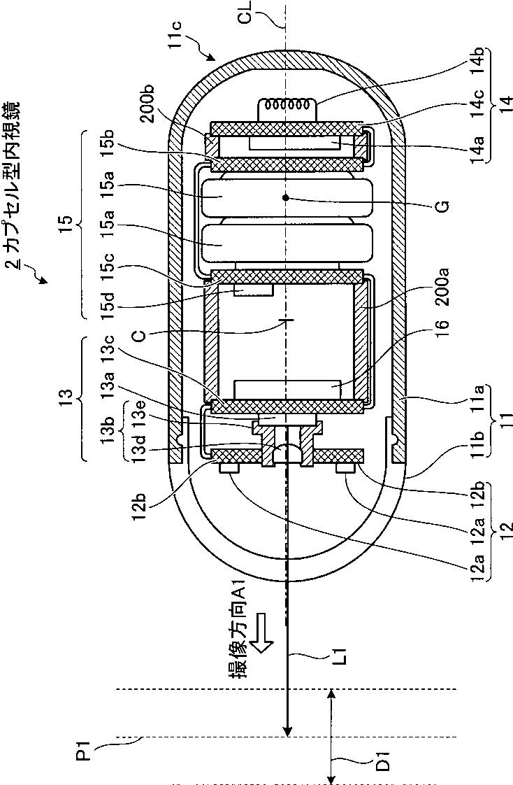
标题
カプセル型内視鏡
授权日
2013-02-22
公开(公告)号
JP5203962B2
申请日
2007-08-29
公开(公告)日
2013-06-05
当前申请(专利权)人
オリンパスメディカルシステムズ株式会社
发明人
重盛 敏明 | 折原 達也 | 瀬川 英建 | 河野 宏尚 | 永瀬 綾子
简单同族
AU2007322906A1 | AU2007322906B2 | CN101541225A | CN101541225B | EP2085015A1 | EP2085015A4 | JP5203962B2 | JPWO2008062594A1 | KR101089395B1 | KR1020090074085A | US20090299144A1 | US8439822 | WO2008062594A1
简单同族成员数量
13
简单同族被引用专利总数
95
诉讼案件数
0
法律状态/事件
未缴年费 | 权利转移
抱歉,您的浏览器不支持PDF预览,请点击链接下载PDF文件