专利数据库
统计分析
产业报告
专利数据监控
产业人才
行业动态
产业政策法规
维权援助
个人中心
详情
文本
图像
标题
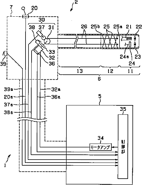
電動湾曲内視鏡
授权日
1900-01-01
公开(公告)号
JP2003230535A
申请日
2002-02-07
公开(公告)日
2003-08-19
当前申请(专利权)人
オリンパス株式会社
发明人
宮城 隆康 | 荒井 敬一 | 石引 康太 | 森山 宏樹 | 鈴木 明 | 前田 俊成 | 池田 裕一
简单同族
JP2003230535A | JP4068855B2
简单同族成员数量
2
简单同族被引用专利总数
21
诉讼案件数
0
法律状态/事件
授权 | 权利转移
抱歉,您的浏览器不支持PDF预览,请点击链接下载PDF文件