专利数据库
统计分析
产业报告
专利数据监控
产业人才
行业动态
产业政策法规
维权援助
个人中心
详情
文本
图像
标题
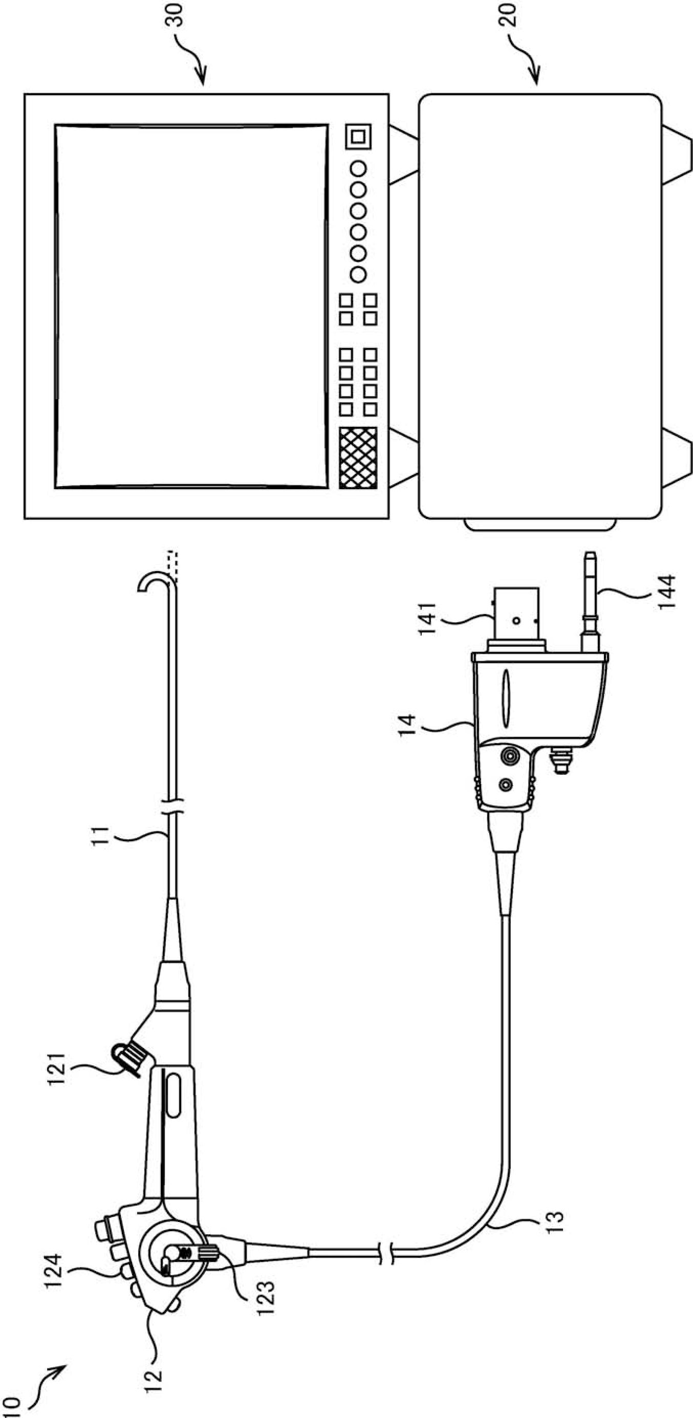
電子内視鏡
授权日
2011-07-22
公开(公告)号
JP4786910B2
申请日
2005-02-07
公开(公告)日
2011-10-05
当前申请(专利权)人
HOYA株式会社
发明人
松井 豪 | 榎本 貴之
简单同族
DE102006005528A1 | JP2006212335A | JP4786910B2 | US20060178565A1
简单同族成员数量
4
简单同族被引用专利总数
53
诉讼案件数
0
法律状态/事件
授权 | 权利转移
抱歉,您的浏览器不支持PDF预览,请点击链接下载PDF文件