专利数据库
统计分析
产业报告
专利数据监控
产业人才
行业动态
产业政策法规
维权援助
个人中心
详情
文本
图像
标题
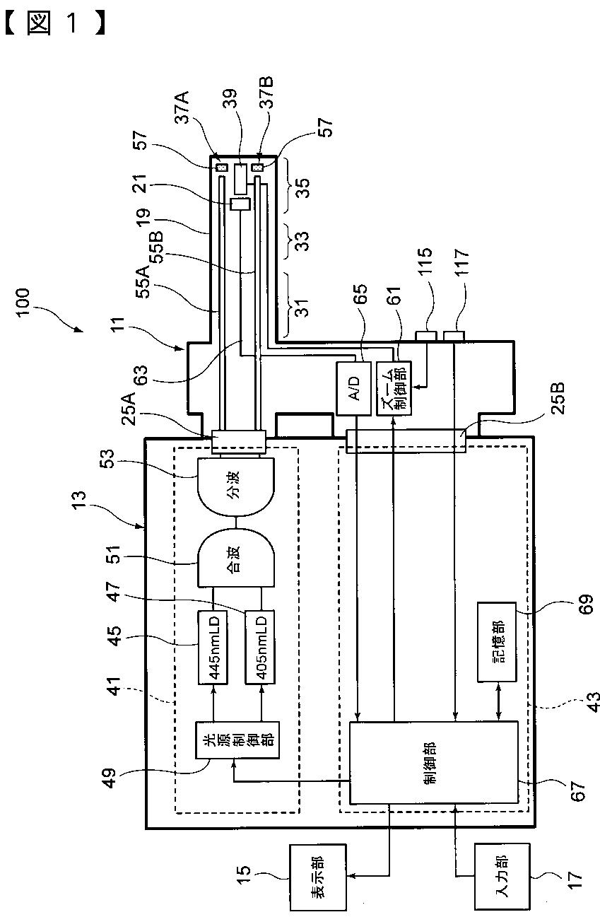
内視鏡装置
授权日
2013-11-01
公开(公告)号
JP5401205B2
申请日
2009-08-10
公开(公告)日
2014-01-29
当前申请(专利权)人
富士フイルム株式会社
发明人
遠藤 安土 | 水由 明 | 小澤 聡 | 江利川 昭彦
简单同族
EP2283769A1 | EP2283769B1 | EP3222201A1 | JP2011036361A | JP5401205B2 | US20110034770A1
简单同族成员数量
6
简单同族被引用专利总数
157
诉讼案件数
0
法律状态/事件
授权
抱歉,您的浏览器不支持PDF预览,请点击链接下载PDF文件