专利数据库
统计分析
产业报告
专利数据监控
产业人才
行业动态
产业政策法规
维权援助
个人中心
详情
文本
图像
标题
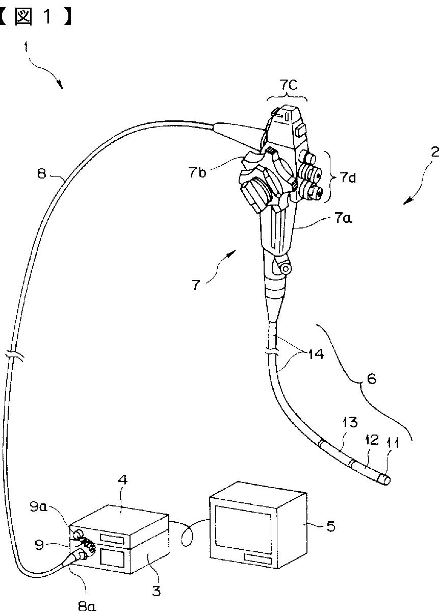
内視鏡
授权日
2009-06-12
公开(公告)号
JP4323441B2
申请日
2005-02-14
公开(公告)日
2009-09-02
当前申请(专利权)人
オリンパス株式会社
发明人
松尾 茂樹
简单同族
AU2006213226A1 | AU2006213226B2 | CN101106932A | CN101106932B | EP1867270A1 | EP1867270A4 | EP1867270B1 | JP2006218232A | JP4323441B2 | KR100922916B1 | KR1020070102546A | WO2006085621A1
简单同族成员数量
12
简单同族被引用专利总数
31
诉讼案件数
0
法律状态/事件
授权 | 权利转移
抱歉,您的浏览器不支持PDF预览,请点击链接下载PDF文件