专利数据库
统计分析
产业报告
专利数据监控
产业人才
行业动态
产业政策法规
维权援助
个人中心
详情
文本
图像
标题
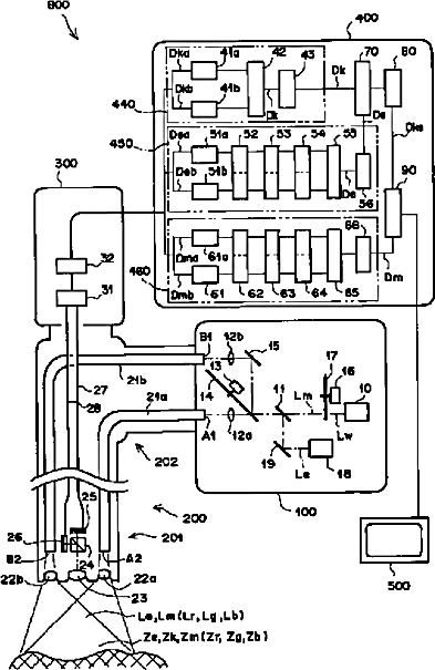
内視鏡画像取得方法および装置
授权日
1900-01-01
公开(公告)号
JP2001224549A
申请日
2000-02-18
公开(公告)日
2001-08-21
当前申请(专利权)人
富士写真フイルム株式会社
发明人
袴田 和男 | 林 克巳
简单同族
JP2001224549A
简单同族成员数量
1
简单同族被引用专利总数
25
诉讼案件数
0
法律状态/事件
撤回
抱歉,您的浏览器不支持PDF预览,请点击链接下载PDF文件