专利数据库
统计分析
产业报告
专利数据监控
产业人才
行业动态
产业政策法规
维权援助
个人中心
详情
文本
图像
标题
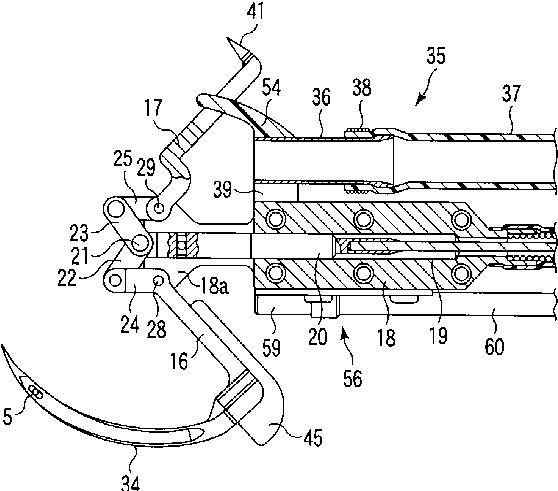
内視鏡用処置具
授权日
1900-01-01
公开(公告)号
JP2005161050A
申请日
2004-11-26
公开(公告)日
2005-06-23
当前申请(专利权)人
鍾 尚志 | オリンパス株式会社
发明人
鍾 尚志 | 竹本 昌太郎 | 山本 哲也 | 川島 晃一 | 松井 頼夫 | 三日市 高康 | 宮本 諭 | 岩坂 誠之
简单同族
JP2005161050A | JP2010188153A | JP4624085B2 | JP5048099B2
简单同族成员数量
4
简单同族被引用专利总数
23
诉讼案件数
0
法律状态/事件
授权 | 权利转移
抱歉,您的浏览器不支持PDF预览,请点击链接下载PDF文件