专利数据库
统计分析
产业报告
专利数据监控
产业人才
行业动态
产业政策法规
维权援助
个人中心
详情
文本
图像
标题
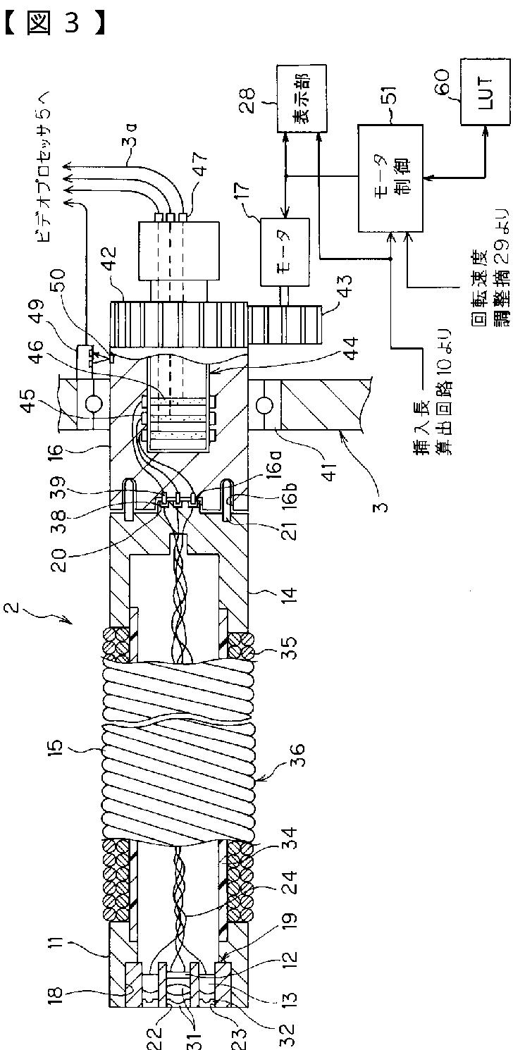
内視鏡装置
授权日
2011-01-21
公开(公告)号
JP4668643B2
申请日
2005-02-23
公开(公告)日
2011-04-13
当前申请(专利权)人
オリンパスメディカルシステムズ株式会社
发明人
倉 康人
简单同族
EP1852052A1 | EP1852052A4 | EP1852052B1 | JP2006230620A | JP4668643B2 | US20080009675A1 | US20110071355A1 | US8753261 | WO2006090599A1
简单同族成员数量
9
简单同族被引用专利总数
59
诉讼案件数
0
法律状态/事件
授权 | 权利转移
抱歉,您的浏览器不支持PDF预览,请点击链接下载PDF文件