专利数据库
统计分析
产业报告
专利数据监控
产业人才
行业动态
产业政策法规
维权援助
个人中心
详情
文本
图像
标题
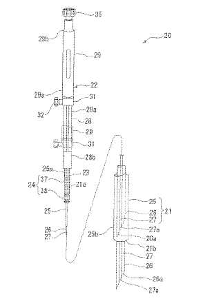
内視鏡用処置具
授权日
1900-01-01
公开(公告)号
JP2007159756A
申请日
2005-12-13
公开(公告)日
2007-06-28
当前申请(专利权)人
オリンパスメディカルシステムズ株式会社
发明人
須田 直人
简单同族
DE602006016480D1 | EP1961386A1 | EP1961386A4 | EP1961386B1 | JP2007159756A | JP4749855B2 | US20080242925A1 | US9033865 | WO2007069592A1
简单同族成员数量
9
简单同族被引用专利总数
35
诉讼案件数
0
法律状态/事件
授权 | 权利转移
抱歉,您的浏览器不支持PDF预览,请点击链接下载PDF文件